Volkswagen Passat B6 club

Клуб владельцев Фольксваген Пассат Б6         Клубные рамки

BVY цепь масляного насоса

BVY цепь масляного насоса

Сообщение mrSergey » 25 мар 2018, 10:52

Приветствую всех!
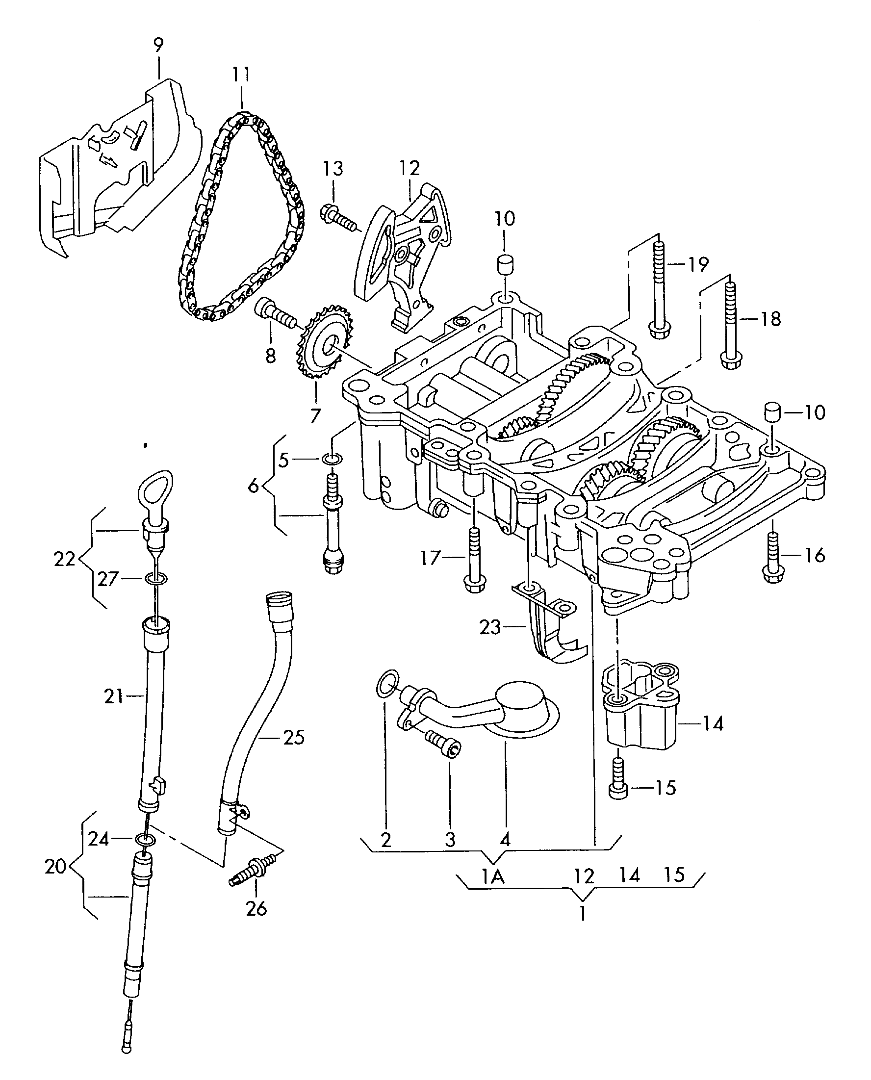
Подскажите,кто разбирал,хочу заменить успокоитель цепи масляного насоса.Там можно снять цепь под крышкой грм,или надо снимать бутерброд поддонов?Гуглил и ничего не нашёл,похоже их никто не меняет...
Вложения
420115200.gif
mrSergey
Частый гость
 
Автор темы
Сообщения: 38
Зарегистрирован: 04 фев 2018, 21:34
Откуда: Санкт-Петербург

Re: BVY цепь масляного насоса

Сообщение Amplify » 25 мар 2018, 11:37

из ЭЛЬЗА:
поддон снять, Снять защиту цепи
Открутить болт крепления звёздочки масляного насоса. Удерживать при этом в качестве упора центральный болт демпфера крутильных колебаний.
Крепление звёздочки цепи привода балансирных валов не ослаблять!
Ослабить натяжитель цепи с помощью отвёртки и зафиксировать с помощью ключа для внутреннего шестигранника шириной 3 мм.
Снять звёздочку масляного насоса и вывесить цепь на приводе балансирных валов.

Судя по фото в ЭЛЬЗА дальше откручиваются 3 крепления успокоителя и... он падает вниз
Passat B6 2.0 FSI BVY АКПП 2007 HL
Amplify
Почетный мембер
 
Сообщения: 743
Зарегистрирован: 18 дек 2010, 11:49

Re: BVY цепь масляного насоса

Сообщение mrSergey » 25 мар 2018, 12:58

Amplify писал(а):Судя по фото в ЭЛЬЗА дальше откручиваются 3 крепления успокоителя и... он падает вниз

получается цепь остаётся на звезде коленвала?
mrSergey
Частый гость
 
Автор темы
Сообщения: 38
Зарегистрирован: 04 фев 2018, 21:34
Откуда: Санкт-Петербург

Re: BVY цепь масляного насоса

Сообщение Amplify » 25 мар 2018, 13:24

mrSergey писал(а):
Amplify писал(а):Судя по фото в ЭЛЬЗА дальше откручиваются 3 крепления успокоителя и... он падает вниз

получается цепь остаётся на звезде коленвала?

да, повисает на звезде КВ
Passat B6 2.0 FSI BVY АКПП 2007 HL
Amplify
Почетный мембер
 
Сообщения: 743
Зарегистрирован: 18 дек 2010, 11:49

Re: BVY цепь масляного насоса

Сообщение mrSergey » 25 мар 2018, 21:15

Amplify писал(а):да, повисает на звезде КВ

Спасибо,надо себе эльзу скачать
mrSergey
Частый гость
 
Автор темы
Сообщения: 38
Зарегистрирован: 04 фев 2018, 21:34
Откуда: Санкт-Петербург

Re: BVY цепь масляного насоса

Сообщение nikolau222 » 21 апр 2018, 05:32

здраствуйте не хочу создавать тему. вы не потскажите. а случайно. не нужно выстовлять звезду. масло насоса по меткам так как. она вращает. балансиры. если знаете как напишите пожалусто. как правльно выставить
nikolau222
Новичок
 
Сообщения: 2
Зарегистрирован: 21 апр 2018, 05:28

Re: BVY цепь масляного насоса

Сообщение Dgim1980 » 04 окт 2018, 12:48

mrSergey писал(а):Приветствую всех!
Подскажите,кто разбирал,хочу заменить успокоитель цепи масляного насоса.Там можно снять цепь под крышкой грм,или надо снимать бутерброд поддонов?Гуглил и ничего не нашёл,похоже их никто не меняет...


Привет, а с чего решил поменять успокоитель? Просто тоже шум появился в районе шкива коленвала.


Отправлено с моего iPhone используя Tapatalk
Passat B6 2005 г., 2.0 FSI BLY, 6АКПП, Comfortline
Dgim1980
Частый гость
 
Сообщения: 30
Зарегистрирован: 28 окт 2017, 21:18


Вернуться в Двигатель

Кто сейчас на конференции

Сейчас этот форум просматривают: нет зарегистрированных пользователей и гости: 65

Яндекс цитирования
© 2009-2022 Volkswagen Passat B6 club - Клуб любителей Фольксваген Пассат Б6.
Размещение рекламы/письмо админу: info [собака] b6club [точка] ru