Volkswagen Passat B6 club

Клуб владельцев Фольксваген Пассат Б6         Клубные рамки

Где находится датчик давления наддува?

Где находится датчик давления наддува?

Сообщение Olegv90 » 19 июн 2020, 15:04

Всем привет, требуется помощь знающих людей. Вчера при обгоне загорелась спиралька и чек на панели приборов. Остановился, заглушил двигатель, завёлся и спиралька пропала. А чек остался. При этом машина едет исправно, потери мощности или других проблем не заметил.
Диагностика показала ошибку P0299, Регулирование давления наддува: выход из диапазона регулирования. В сервисе сказали менять датчик давления наддува.
Пол дня искал, но так и ненашол где он находиться. Может кто сталкивался и знает его место расположения и сложно ли его поменять?
Машина Passat B6 2009 2.0tdi CBAB
VW Passat b6 Variant, 2.0 TDI, 2009
Аватара пользователя
Olegv90
Новичок
 
Автор темы
Сообщения: 5
Зарегистрирован: 19 июн 2020, 14:50

Re: Где находится датчик давления наддува?

Сообщение passat2 » 19 июн 2020, 19:20

чтото диагностика не полная кажеться. у вас передув или ненодув? комп должен был показать? дин датчик есть на стенке за двигателем это клапан 75 . есть датчик на магистрали около интерколлера внизу между двигателем и радиаторами на пластиковой трубе?)))))00 а может просто забит катализатор. у мне тоже такая была ошибка. выкинул катализатор все пропало.
вам в сервисе точную диагностику показали или на словах передали чтобы потом развести на поиск типо датчика. а их там не мало.
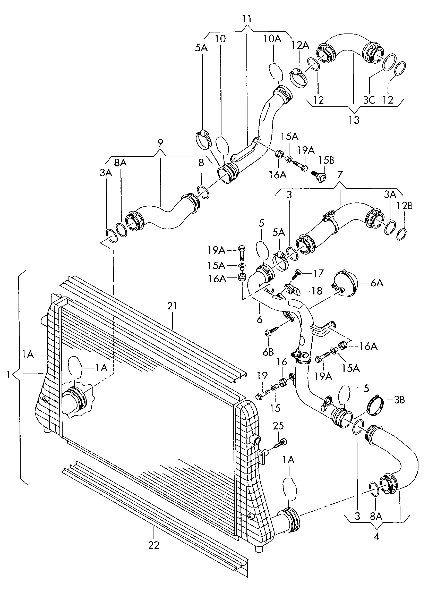
позиции 25 и 27
а так же позиция 18 там где на схеме интерколлер
Вложения
460145800.gif.png
460131850.gif.png
2.0TDI 140л.с BKP. 11.2006г O w O
Аватара пользователя
passat2
Мембер
 
Сообщения: 1700
Зарегистрирован: 26 июн 2013, 10:22
Откуда: Москва. ВАО. Новокосино

Re: Где находится датчик давления наддува?

Сообщение El Gato » 19 июн 2020, 21:07

Датчик с большой долей вероятности не при чём. Полную диагностику выложите.
Сам датчик давления наддува находится на воздушном патрубке, идущем от интеркулера до впускного коллектора. Между движком и итрекулером вниз посмотрите, там он на патрубке.
Passat B6 2,0 TDI BKP
BMW 520d G30
El Gato
Почетный мембер
 
Сообщения: 1130
Зарегистрирован: 08 май 2012, 11:53
Откуда: Новороссийск

Re: Где находится датчик давления наддува?

Сообщение Olegv90 » 19 июн 2020, 23:05

P0299, Регулирование давления наддува: выход из диапазона регулирования ( меньше нижнего предела). Вот это все что показал сканер. Правдо диагностировали не вагом а каким то универсальным сканером.

Расшифровали код ошибки как неисправность датчика давления наддува, либо недостаточно довление масла. Но поскольку уровень масла в норме, сказали что датчик
VW Passat b6 Variant, 2.0 TDI, 2009
Аватара пользователя
Olegv90
Новичок
 
Автор темы
Сообщения: 5
Зарегистрирован: 19 июн 2020, 14:50

Re: Где находится датчик давления наддува?

Сообщение Александр332vk » 19 июн 2020, 23:20

Датчик находится под номером 16, или что то в этом районе на первом рисунке, не 16а....а 16 на колене идущем вниз около генератора
Пассат вариант 2010 г.в. СВАВ 6ступ ручка компл Хайлайн, РНС-510, ксенон, - ПРОДАН!
Киа Соренто MQ4 2021 г.в. 2.2 дизель 8ми ст. робот компл. Gravity, 6 мест, панорамная крыша, цвет "Перламутровый Жемчуг", чистокровный "Кореец".
Аватара пользователя
Александр332vk
Почетный мембер
 
Сообщения: 2383
Зарегистрирован: 02 ноя 2013, 17:53
Откуда: Мурманск

Re: Где находится датчик давления наддува?

Сообщение Olegv90 » 20 июн 2020, 09:44

А работоспособность этого датчика можно как то проверить? Или может почистить его? А то я уже и сам в сомнениях, слишком смутный диагноз мне поставили
VW Passat b6 Variant, 2.0 TDI, 2009
Аватара пользователя
Olegv90
Новичок
 
Автор темы
Сообщения: 5
Зарегистрирован: 19 июн 2020, 14:50

Re: Где находится датчик давления наддува?

Сообщение Александр332vk » 20 июн 2020, 10:10

Так может у Вас датчик не причем? А дело в турбине, или лопатках изменяемой геометрии...либо N75 не герметичен...
Пассат вариант 2010 г.в. СВАВ 6ступ ручка компл Хайлайн, РНС-510, ксенон, - ПРОДАН!
Киа Соренто MQ4 2021 г.в. 2.2 дизель 8ми ст. робот компл. Gravity, 6 мест, панорамная крыша, цвет "Перламутровый Жемчуг", чистокровный "Кореец".
Аватара пользователя
Александр332vk
Почетный мембер
 
Сообщения: 2383
Зарегистрирован: 02 ноя 2013, 17:53
Откуда: Мурманск

Re: Где находится датчик давления наддува?

Сообщение Olegv90 » 20 июн 2020, 10:20

Александр332vk писал(а):Так может у Вас датчик не причем? А дело в турбине, или лопатках изменяемой геометрии...либо N75 не герметичен...


Блин... Да может все быть.. Как хоть конкретнее узнать причину? На диагностике ошибку скинули, щас пока не появляется, но и я стараюсь сильно тапку в пол нежать.
Есть способы узнать конкретнее в чем неисправность? Может ваговской диагностикой?
VW Passat b6 Variant, 2.0 TDI, 2009
Аватара пользователя
Olegv90
Новичок
 
Автор темы
Сообщения: 5
Зарегистрирован: 19 июн 2020, 14:50

Re: Где находится датчик давления наддува?

Сообщение Daniliv » 20 июн 2020, 12:28

Приветствую!
Проверить актуатор на герметичность вакуметром, расшевелить его шток /может лопатки за коксовались/ Так же трубки от актуатора на N-75 и тд.
Passat Alltrack, The Black shed иии ..... 550 Hm
Passat В-6 2.0 TDI 140 ВMP DSG Bi-Xenon The Black shed + + <<<<OoWoO>>>> Webasto TTEvo-ALTOX
B-5 AHU 1.9 продан
И многие другие там-же
Аватара пользователя
Daniliv
Ветеран
 
Сообщения: 10418
Зарегистрирован: 19 июн 2012, 08:27
Откуда: Город Герой ЛЕНИНГРАД

Re: Где находится датчик давления наддува?

Сообщение Olegv90 » 20 июн 2020, 12:49

Спасибо, буду пробовать сначала так. А то покупать датчик который может сломан а может и нет мне кажетьса затратным. Всем спасибо за советы, буду разбиратьса
VW Passat b6 Variant, 2.0 TDI, 2009
Аватара пользователя
Olegv90
Новичок
 
Автор темы
Сообщения: 5
Зарегистрирован: 19 июн 2020, 14:50

Re: Где находится датчик давления наддува?

Сообщение +михалыч » 20 июн 2020, 15:07

Olegv90
quote="Daniliv"]Приветствую!
Проверить актуатор на герметичность вакуметром, расшевелить его шток /может лопатки за коксовались/ Так же трубки от актуатора на N-75 и тд.[/quote]
Правильно вам сказали. А при нормальной диагностики проверяется ход актуатора и давление наддува, тогда делается вывод неисправности. А то сразу датчик давления, тем более давление масла никаким боком.
Последний раз редактировалось +михалыч 22 июн 2020, 07:17, всего редактировалось 1 раз.
B6, BZB, АКПП, St1.
+михалыч
Почетный мембер
 
Сообщения: 311
Зарегистрирован: 31 авг 2014, 17:14

Re: Где находится датчик давления наддува?

Сообщение Daniliv » 21 июн 2020, 23:36

+михалыч писал(а):Правильно вам сказали. А при нормальной диагностики проверяется ход актуатора и давление наддува, тогда делается вывод неисправности. А то сразу датчик давления, тем более давление масла никаким боком.

А мне это зачем???
Passat Alltrack, The Black shed иии ..... 550 Hm
Passat В-6 2.0 TDI 140 ВMP DSG Bi-Xenon The Black shed + + <<<<OoWoO>>>> Webasto TTEvo-ALTOX
B-5 AHU 1.9 продан
И многие другие там-же
Аватара пользователя
Daniliv
Ветеран
 
Сообщения: 10418
Зарегистрирован: 19 июн 2012, 08:27
Откуда: Город Герой ЛЕНИНГРАД

Re: Где находится датчик давления наддува?

Сообщение +михалыч » 22 июн 2020, 07:12

Это топику, извиняюсь так вставилось
B6, BZB, АКПП, St1.
+михалыч
Почетный мембер
 
Сообщения: 311
Зарегистрирован: 31 авг 2014, 17:14

Re: Где находится датчик давления наддува?

Сообщение passat2 » 23 июн 2020, 23:37

Olegv90 писал(а):Всем привет, требуется помощь знающих людей. Вчера при обгоне загорелась спиралька и чек на панели приборов. Остановился, заглушил двигатель, завёлся и спиралька пропала. А чек остался. При этом машина едет исправно, потери мощности или других проблем не заметил.
Диагностика показала ошибку P0299, Регулирование давления наддува: выход из диапазона регулирования. В сервисе сказали менять датчик давления наддува.
Пол дня искал, но так и ненашол где он находиться. Может кто сталкивался и знает его место расположения и сложно ли его поменять?
Машина Passat B6 2009 2.0tdi CBAB


привет.а ты сам откуда?
2.0TDI 140л.с BKP. 11.2006г O w O
Аватара пользователя
passat2
Мембер
 
Сообщения: 1700
Зарегистрирован: 26 июн 2013, 10:22
Откуда: Москва. ВАО. Новокосино

Re: Где находится датчик давления наддува?

Сообщение ZZtop » 24 июн 2020, 02:03

Olegv90 писал(а):Спасибо, буду пробовать сначала так. А то покупать датчик который может сломан а может и нет мне кажетьса затратным. Всем спасибо за советы, буду разбиратьса

Если не ошибаюсь то ДДН идет в паре с другим датчиком. Не помню с каким) По гуглите..
т.е. если он закоксован то и др.датчик будет показывать не правильные значения.(Была такая же ошибка, проверял этот датчик и он оказался чистым).
Можно еще Васей-шнурком посмотреть показания наддува.
Далеко не факт что недодув из за него.
Возможно ошибаюсь).
Passat B6 2.0 TDI BKP
Аватара пользователя
ZZtop
Местный
 
Сообщения: 238
Зарегистрирован: 23 сен 2019, 11:33
Откуда: Санкт-Петербург


Вернуться в Двигатель

Кто сейчас на конференции

Сейчас этот форум просматривают: нет зарегистрированных пользователей и гости: 28

Яндекс цитирования
© 2009-2022 Volkswagen Passat B6 club - Клуб любителей Фольксваген Пассат Б6.
Размещение рекламы/письмо админу: info [собака] b6club [точка] ru