

Babay писал(а):shlerik писал(а):Юра Криков
У меня на бош не оригинальный подходит, а вот пластиковые наконечники не подошли
Старые не ломай. Уже столкнулся с этим. Теперь снимаю аккуратней.


shlerik писал(а):Юра Криков
У меня на бош не оригинальный подходит, а вот пластиковые наконечники не подошли
Babay писал(а):UR-19 правая сторона 475 мм
UR-24 левая сторона 600 мм
  может не те артикулы? 
loginza20418 писал(а):Интересно чтож мне в оригинал подложат ))) в пон узнаем
pcelovod116 писал(а):Поставил то же Бош,в одну сторону гребут превосходно (с водительской стороны) когда обратно идут не фига не соскребают(((
Юра Криков писал(а):pcelovod116 писал(а):Поставил то же Бош,в одну сторону гребут превосходно (с водительской стороны) когда обратно идут не фига не соскребают(((
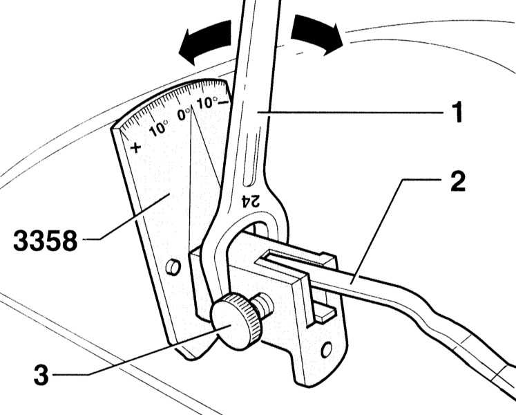
Регулировать угол наклона поводков.
Babay писал(а):Поставил БОШ, нового образца. Неделя, чистят шикарно, не стекло, а хрусталь!
pcelovod116 писал(а):Юра Криков писал(а):pcelovod116 писал(а):Поставил то же Бош,в одну сторону гребут превосходно (с водительской стороны) когда обратно идут не фига не соскребают(((
Регулировать угол наклона поводков.
это в ручную подогнуть?
  Извини,Дружище,ща не могу кинуть сЦыль(захожу с Дэнди),погуглите сами ...Юра Криков писал(а):Babay писал(а):Поставил БОШ, нового образца. Неделя, чистят шикарно, не стекло, а хрусталь!
Дэе,сколько по бабосам,если у тя заказывать?
Юра Криков писал(а):pcelovod116 писал(а):Юра Криков писал(а):pcelovod116 писал(а):Поставил то же Бош,в одну сторону гребут превосходно (с водительской стороны) когда обратно идут не фига не соскребают(((
Регулировать угол наклона поводков.
это в ручную подогнуть?
Есть спец прибомбас.Извини,Дружище,ща не могу кинуть сЦыль(захожу с Дэнди),погуглите сами ...
Babay писал(а):Есть предложение по 1160 р комплект БОШ.
Юра Криков писал(а):Дэе
Юра Криков писал(а):pcelovod116
Примерно -
Ну а угол - гуглЯ в помощь
Юра Криков писал(а):loginza20418 писал(а):Интересно чтож мне в оригинал подложат ))) в пон узнаем
Ну и ? ... Седня среда....

Babay писал(а):Поставил БОШ, нового образца. Неделя, чистят шикарно, не стекло, а хрусталь!
loginza20418 писал(а):пришли дворники без опознавательных различий, те никакой фирмы на них нет
  Что,вообще никаких цифИрь нема?loginza20418 писал(а):Юра Криков писал(а):loginza20418 писал(а):Интересно чтож мне в оригинал подложат ))) в пон узнаем
Ну и ? ... Седня среда....
Сори за ожидания , пришли дворники без опознавательных различий, те никакой фирмы на них нет, единственное что на них было это какаето жёлтая наклеечка которую судя по изображению нужно отклеить а под ней ничего , те матовый корпус дорника , а под каклейкой какаето глянцевая круглая поверхность размером 0.5 на 0.5 см

Руслан82 писал(а):Эти наклеечки являются индикатором, как потемнеют, дык пора менять дворники. У меня такие были.
[/quote]BerserkRD писал(а):Babay писал(а):Поставил БОШ, нового образца. Неделя, чистят шикарно, не стекло, а хрусталь!
Babay какая маркировка у нового образца?
  В автодоке такие же за 1135 руб пришли.BerserkRD писал(а):Babay писал(а):Поставил БОШ, нового образца. Неделя, чистят шикарно, не стекло, а хрусталь!
Babay какая маркировка у нового образца?
Babay писал(а):Все то же самое, только упаковка другая и сами щетки немного конструктивно изменены. Заглушки по краям другие, место крепления поводка чуть изменено. Ну и похоже состав резины другой, так как на самом деле чистить стали лучше.
Юра Криков писал(а):pcelovod116
Примерно -
Ну а угол - гуглЯ в помощь
Сейчас этот форум просматривают: нет зарегистрированных пользователей и гости: 6